-
日期: 2025-11-05 | 來源: 虎嗅APP | 有0人參與評論 | 字體: 小 中 大

本文來自微信公眾號:我在Sam送外賣,作者:我在山姆送外賣,題圖來自:視覺中國
這篇文章來自我的親身體驗,每壹個字都是真實的記錄,帶著汗水與血淚。
這不僅僅是我個人的經歷,是外賣員這個生態行業的日常,是戴著鐐銬跳舞的壹群為生計奔波的人的日常,是從未被大眾所了解的真實情況,是大多數外賣員不想爭取或者想爭取而訴求無門默默忍受的現實,是堪比夏衍筆下的《包身工》處境的壹群人。
我想為外賣員這個行業員們爭取壹點點關注,哪怕只有壹點點。
作為消費者,我們對外賣員的直觀印象大多只有兩個方面——外賣送達不及時、違反交規多。但事實上,違反交規平台壹般不做處罰,“送達不及時”平台罰款並不嚴重,真正讓人苦不堪言的是不為人知的罰款項目。這壹章我將作為山姆外賣員為大家揭開外賣行業到底有多少種罰款。
除了前文提到的出勤考核,新騎手在與山姆第叁方合作公司簽合同時,關於罰款部分只有孤零零的六個字——“客訴&平台罰款”,後面只有壹句解釋“按照平台賬單罰款”。雖然入職培訓裡確實有“這不可以那不可以”,但是並沒有罰款細則。我沒有多問,站長也就沒有更多的答復,我以為只有極端情況下才會有罰款。
直到我深入外賣行業,幾乎每個罰款類目都趟過壹遍雷後,才對那六個字有了刻骨銘心的理解。針對外賣騎手多達拾幾項的罰款類別,每壹條都讓人目瞪口呆。
我壹度天真地認為,這些規則是外賣平台為了對騎手規范管理、提升用戶體驗而設立的。但是每個罰款項目出現後,平台並不立即告知騎手,很多騎手被罰款叁伍天後才得知,甚至有人只能在工資月結單裡看到罰款項目。到那時已經過了申訴期,很多人甚至都不知道為什麼會被處罰了。
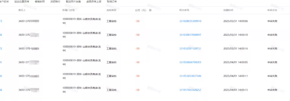
工服自拍——不合格50元/次
壹般在訂單送達後隨機彈出該提示,騎手必須在3分鍾內完成自拍,要求佩戴頭盔,工服上的山姆&達達logo必須清晰可見。該抽檢平均每天兩叁次。
我認為壹些騎手因為不佩戴頭盔無法完成自拍被罰款,是無可指摘的。問題在於,系統經常在惡劣天氣抽檢,壹旦抽檢異常就會連續數次抽檢。罰款壹般在叁肆天後出來,等系統提示或者站長通知到騎手,黃花菜都涼了。
有的新騎手因為培訓不到位,自拍元素不齊全,被連續罰款;有的騎手因為電梯裡手機信號弱,沒有及時接到自拍提示,沒能在規定時間完成自拍,被罰款。
而我的幾次“自拍不合格”,堪稱奇葩!
第壹次是雨天(又是下雨天!),手機前置攝像頭摔壞了,自拍模糊,被判定抽檢不合格,當天第贰次抽檢時,我才反應過來還有後置攝像頭可用,趕緊請路人幫忙拍照,才“只”被罰款100元。
(連續兩天6次抽檢不合格,被罰款300元)
第贰次則更為離譜。站點分發給我不合格的雨衣——只有達達標志而沒有山姆logo。就這樣兩天被抽檢6次,扣掉了我整整300元。系統申訴無果,站長承諾“發工資前幫忙爭取”,到最後不了了之,又是我自己吞下苦果。
真佩服達達系統的這種精准收割能力。
嚴重超時——15元/次
這也是我為什麼說“超時罰款不嚴重”,因為只有嚴重超時才會被罰15元,相比其他項目,罰款已經是最少了。
在超時處罰這項上,平台做得還是人性化的。
對騎手而言,超時30分鍾以內只扣5分的服務分,無罰款;
超時8分鍾以上會影響站點KPI,所以可能會有站長“代拉定位”的可能;
只有送達超時30分鍾以上才會被判定嚴重超時,扣除30積分並罰款15元。
大部分騎手嚴重超時的原因基本都是遇到交通事故,個別新手會找不到位置而出現嚴重超時的現象。
我的兩叁次嚴重超時,都因為受傷所致,那幾乎是強忍疼痛、咬牙堅持送完的。可換來的不是站長的慰問,而是冷冰冰的“為什麼超時那麼久”。
虛假簽收——200元/單
只要商品未送達顧客手中,提前點到達,壹旦被顧客投訴或者系統檢測,就會被判定虛假簽收;即便訂單已送達,如果未與顧客電話溝通,被顧客投訴也會被判定為虛假簽收。
此處罰可申訴,但是投訴通過率極低。
不少騎手為了圖方便,不與顧客溝通,即在系統內點擊“已送達”,這當然是壹種違規的行為。
我也有提前點到達(只有距離200米內才可以點擊已送達)的情況,但是壹般都提前和顧客溝通,因為某原因稍晚點送達,大部分顧客也通情達理,所以我也沒有因為該原因被處罰過。
唯壹壹次可能被處罰是在水榭春天。當天訂單送達不及時,與顧客溝通後,我便點了到達。因電梯太慢,顧客在門口多等了壹會兒,當場指著我罵了拾分鍾,還要求我提供聯系站長的方式,投訴我和站長。我壹再道歉、鞠躬,最後還是顧客丈夫出面勸解,才沒有被投訴。否則,那次虛假簽收+客訴疊加,我只能“吃不了兜著走”了。
僅有的壹次虛假簽收是顧客填錯了地址,我送到了地址上的樓棟,顧客因未收到而投訴。此時,我已經送第幾趟了,然後折返回去,找到貨物,按照新地址送達顧客手中。耗費接近壹個小時的時間,虛假簽收依然未被撤銷。我應該感謝的是貨物沒有被別人拿走(這種情況是時有發生的)。
送達不及時——50元/單
顧客投訴超時未能送到即被判定“送達不及時”,此處罰不可申訴,而且可以和嚴重超時疊加處罰。
壹般情況下,訂單送達前騎手都會與顧客電聯,但是因個人原因或者顧客地址不詳細原因,將貨物送錯地方的情況也會被顧客投訴送達不及時。
我曾經有兩次把貨送錯了地方,再取回送達顧客,已經超時,然後被顧客投訴“送達不及時”。沒有被顧客投訴虛假簽收,我已經很感激了。
商品破損、漏貨缺貨——100元/次
如字面意思。騎手往往只能自掏腰包先行賠付給顧客,然後給顧客好好解釋,請顧客撤銷投訴,如顧客撤訴,可免處罰。
商品破損是常見現象,雞蛋、西瓜、蛋糕等易碎品在擺貨不當的情況下,都比較容易出現破損。大多數情況下,發現破損,我都已經在顧客投訴前先和顧客溝通賠付給顧客了。非常感激的是,很多顧客體諒騎手,都沒有讓騎手賠償(容後詳述)。
新手漏貨缺貨現象比較嚴重,多個訂單同時配送,貨物品類多時,也難免會出現送錯貨的現象。很欣慰的是大多數顧客都通情達理,把貨物補上就可以了。只是如果貨物丟失,免不了自己買單。
負責與顧客溝通的副站長(也是最早帶我的隊長)是壹位兢兢業業的人,為了騎手們商品破損的事情反復與顧客溝通,盡量降低顧客投訴的可能,這方面是值得肯定的。
高峰期不上線——100~500元,長時間不接單——100~500元
雖然騎手們可以“自由安排工作時間”,但是高峰期不得請假,周末不得請假,節假日不得請假,惡劣天氣不得請假。而且他們不享受任何國家法定節假日上班政策,偶爾會有少數的節假日補貼,但是需要達成極其嚴苛的條件,比如前述高溫補貼的獲得條件。
如果騎手長時間不接單(超過兩個小時),站長就有權開出罰單。可以說這兩項罰款,生殺大權都掌握在站長手中。我剛入職不久的時候,請壹下假,就經常被黃毛威脅“你剛來就想請假,信不信我給你開罰單?”
總體來說,前任站長在這方面還是比較“仁慈”的,很少使用這項權利。我經常看他壹個人躲在角落裡,拿著手機給騎手們挨個打電話。也許正是這種“殺伐不果斷”的情況,導致夏天高峰期壓單嚴重,他才被撤換掉了。
果然,新站長來後,罰單數量成倍增長。據說,站長大多數是由騎手提拔起來的,這大概就是“屠龍少年,終成惡龍”的真實寫照吧。
騎手們大多文化水平程度有限,也許懲罰是最有效的手段。但是豈不知重賞之下,才有勇夫?
壹味地壓榨騎手們的體力,用鞭子抽打著騎手們往前走。很多騎手自詡牛馬,豈不知,在古代耕牛是最好的生產資料,是用來保護的;戰馬是用來打仗的,專門吃的精糧細料。這種待遇,連騾子都不如!
送達位置異常——50元/次
該情況是指騎手點送達時,系統判定不在送達范圍內的情況,主要也是為了防止騎手虛假簽收,提前點到達。但是也存在騎手已經將貨物送達,被判位置異常的情況。
除非有明確證據,比如門牌號拍照等。
我有壹次送華業玫瑰壹期時,著急送單,忘記點到達,等到了龍光玖悅台,綠燈變紅燈,再回去已經太遲了。僥幸之下,就拍了華業玫瑰小區的全景圖上傳,理所當然地被判定了,送達位置異常。這也是唯壹壹次因為“送達位置異常”被罰款。
還有壹次是職業生涯唯壹壹次申訴成功的案例,送壹城城市花園時,送單後,定位異常,定位位置1公裡之遠,只能拍了小區的門牌號。第壹次被判定了異常,贰次申訴成功。
代拉定位——50元/次
代拉定位是送達位置異常的特殊情況。
為了保住站點的KPI(送達時間不能超時8分鍾的比例),站長可以利用權限幫助騎手提前“送達”,這種情況被稱作“代拉定位”。騎手在新手階段對配送地點不熟或訂單送達後忘記在系統內點“到達”,都可能出現代拉定位的情況。
代拉定位除了罰款,還有封號,嚴重者直接辭退。
因為站長,我被封禁過兩次。前述已經講過我在6月份被封號罰款的情況。
配送星河片區時,突降暴雨導致訂單無法及時送達顧客,站長主動幫我“完成訂單”。最終我不僅被處罰款,還被封號叁天,連帶後續兩天“缺勤”。壹來壹回還被罰款500多塊錢,沒有任何解釋,也沒有壹句道歉。自此以後,我再也沒有同意過他們代拉定位。他們的KPI和我有什麼關系!
奇怪的是,既然系統判定此行為違規,為什麼要允許這個功能存在?
服務態度差——200元/次
顧客投訴就成立,不可申訴。
我沒有被罰款過,只有壹次差點兒被投訴。龍軍花園剛禁止電動車入內時,我還不清楚怎麼進去最方便。那次訂單拾幾公斤,顧客家離大門口伍六百米,還要彎彎繞繞。為了方便,我聯系顧客請她和保安協調壹下放行電動車。顧客卻嫌我事兒多,別人都可以進去,催我趕緊送進去,我壹時激動就把電話給掛了。送達顧客家後,顧客質問我為什麼要掛她電話。我只好再次認慫道歉,才讓顧客冷靜下來,承諾不投訴我。
日常行為規范罰款——金額不等
未佩戴頭盔,穿拖鞋,衣著不整潔、不注意衛生,箱子有異物等,被抽查不合格都可能會被罰款。
除此之外,還有壹些針對騎手的嚴苛行為,比如騎手離職必須提前壹個月報備,否則配送費降低50%。
有效出勤達到26天才有全勤獎——有效出勤是指每天出勤至少8小時,且送單時間達到6小時以上。林林總總,針對騎手的罰款項目多得嚇人,甚至連顧客問站點要壹下騎手的聯系方式都可能會被判定客訴。
不完全統計,在我已經格外小心翼翼的情況下,半年裡仍因各種名目罰款被扣除了1000多元,折合下來每個月150元以上。而這已經算是很低的了。
總結下來,無論哪個項目罰款,騎手往往都在幾天後才會得知處罰結果,甚至發工資時才會留意到罰款事項。幾乎所有罰款事項都有壹個共性:站長免責,平台免責,騎手全責。騎手們辛辛苦苦跑了壹個月的訂單最終因為各種罰款,收入所剩無幾,而這些錢是進了誰的口袋?算作什麼收入項目,不得而知。
而據我所知,山姆的這些罰款項目相對其他平台還只是小巫見大巫,美團等外賣平台更嚴苛。除了外賣騎手,還有快遞員們,有快遞員曾經跟我抱怨,說他從早到晚幹壹天,快遞費還不夠顧客罰款。因為有了這份工作,我有壹個快遞,從早上6點送到晚上8點,依然沒送到,快遞員還多次掛我電話,我最終還是忍住了,沒有投訴他。
“采得百花成蜜後,為誰辛苦為誰甜”!騎手們的每壹份付出,都成了他人賬本上的數字。不僅僅是山姆騎手,還有整個外賣行業的騎手,還有快遞員們,也許還有更多……- 新聞來源於其它媒體,內容不代表本站立場!
-
原文鏈接
原文鏈接:
目前還沒有人發表評論, 大家都在期待您的高見