-
日期: 2021-02-03 | 来源: 环球网 | 有0人参与评论 | 字体: 小 中 大
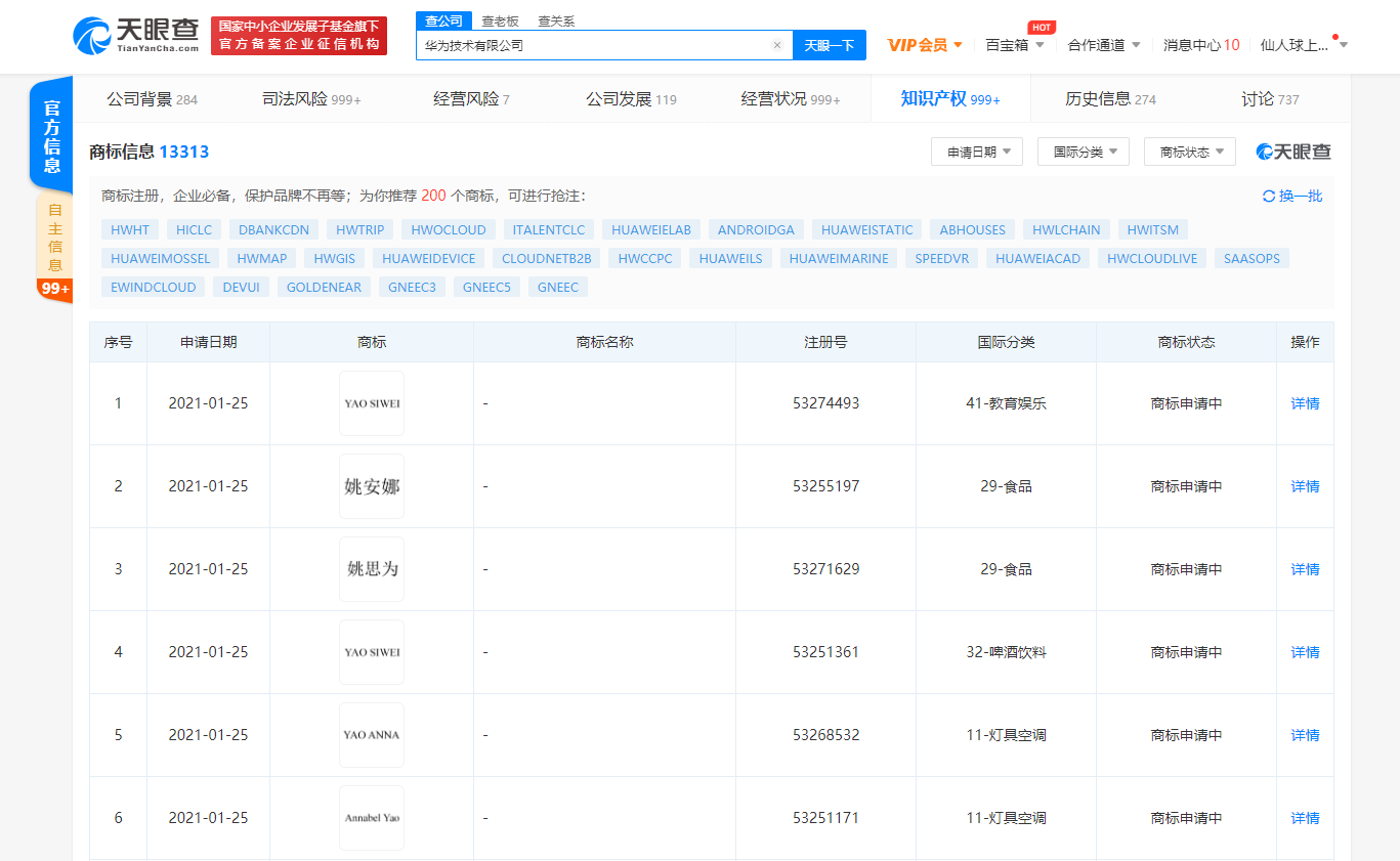
据Tech星球报道,任正非在华为内部心声社区就注册姚安娜商标事件进行道歉。
关于公司代理姚安娜商标注册的几点说明:
1.姚思为是任正非女儿 姚安娜是她的艺名。
2.社会上有些公司或个人恶意抢注姚安娜商标。我们不得为之。若自己不注册,商标会被持续的恶意抢注。有许多不利的地方。根据中国商标法的规定。中国大陆公民必须用公司名义或持有个体工商营业执照才可申请注册商标。姚安娜刚毕业,还没有注册自己的公司。因此。任总委托知识产权部代理注册,以后再转让给姚安娜的工作室,费用由她支付。
3.任总是第一次公权私用,为此向全体员工道歉。
- 新闻来源于其它媒体,内容不代表本站立场!
-
原文链接
原文链接:
目前还没有人发表评论, 大家都在期待您的高见