-
日期: 2022-07-11 | 來源: 上游新聞 | 有0人參與評論 | 字體: 小 中 大
7月11日,#譚談交通全面下架#、#譚喬自曝或面臨牢獄之災#等話題登上微博熱搜,引起網友的關注。據天眼查APP顯示,《譚談交通》主持人譚喬提到的成都游術文化傳播有限公司目前起訴B站、抖音、愛奇藝、騰訊等多個平台侵權。
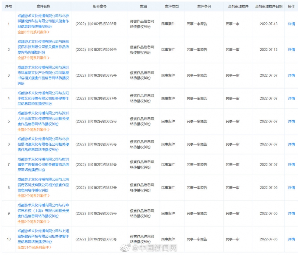
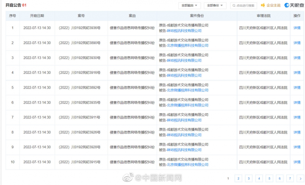
據天眼查APP顯示,“譚談交通或全面下架”事件中,涉事公司“成都游術文化傳播有限公司”成立於2018年,法定代表人為張宇航,目前該公司“起訴他人或公司的開庭公告”共有61條,B站、抖音、咪咕、小紅書、愛奇藝、騰訊、快手、百度、搜狐、樂視網、優酷、華為等均成為被告。
此外,該公司目前共有86個侵害作品信息網絡傳播權糾紛相關案件。其中,與上海寬娛數碼科技有限公司(B站)相關侵害作品信息網絡傳播權糾紛有31個同系列案件;與北京快手科技有限公司相關侵害作品信息網絡傳播權糾紛有9個同系列案件;與咪咕視訊科技有限公司相關侵害作品信息網絡傳播權糾紛有7個同系列案件;與百度在線網絡技術(北京)有限公司相關侵害作品信息網絡傳播權糾紛有6個同系列案件;與北京微播視界科技有限公司(抖音)相關侵害作品信息網絡傳播權糾紛有5個同系列案件;與行吟信息科技(上海)有限公司(小紅書)相關侵害作品信息網絡傳播權糾紛有5個同系列案件;與騰訊科技(北京)有限公司相關侵害作品信息網絡傳播權糾紛有3個同系列案件;與北京愛奇藝科技有限公司相關侵害作品信息網絡傳播權糾紛有2個同系列案件。
7月10日下午,《譚談交通》主持人@譚喬發微博稱,正在外面拍安全宣傳視頻,驚聞《譚談交通》被下線,並可能面臨數千萬的巨額賠償。譚喬在微博中表示,拍攝的公益普法視頻視頻,拾幾年來在網絡上被大家無償觀看和贰創傳播,現在他可能賠得褲子都沒了。
@譚喬微博截圖
據悉,《譚談交通》是成都本土壹檔寓教於樂的交通警示類節目。因為其貼近大眾的節目特色和詼諧幽默的主持特點,贏得了市民的壹致好評。其中很多期經典節目,在全國各大電視台轉載。受到了熱烈的關注。- 新聞來源於其它媒體,內容不代表本站立場!
-
原文鏈接
原文鏈接:
目前還沒有人發表評論, 大家都在期待您的高見